اپل اختراعی بسیار عجیب ثبت کرد

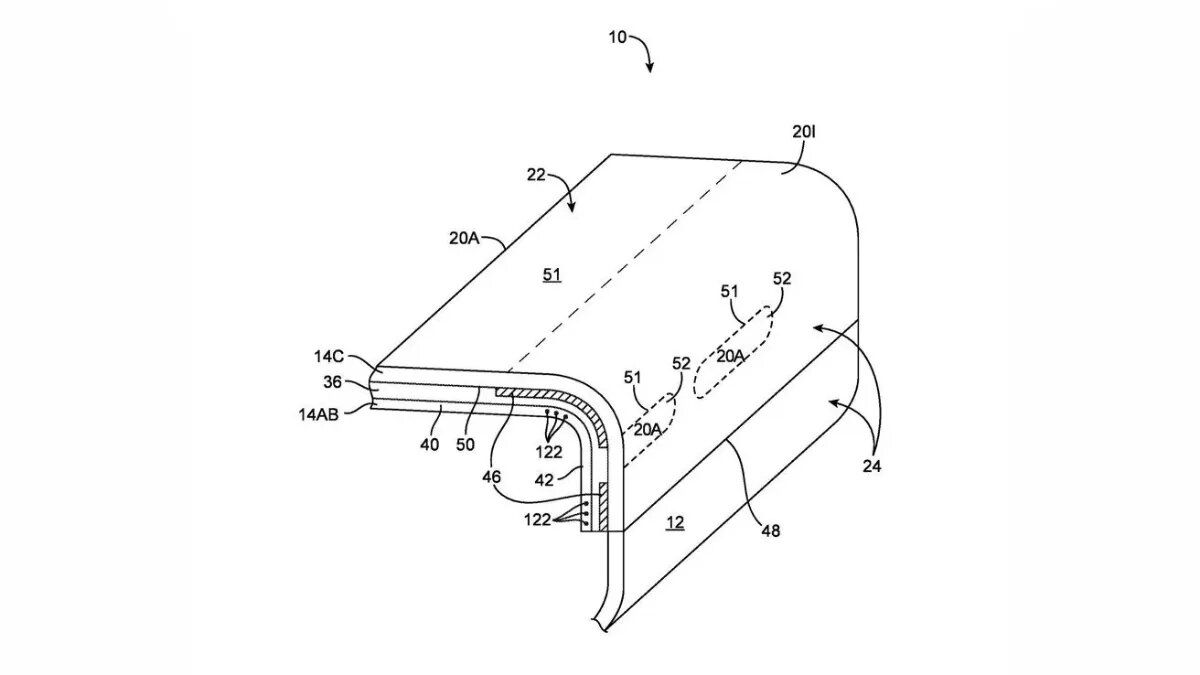
به گزارش خبرآنلاین، این نمایشگر لمسی یادآور تاچبار است که قبلاً در برخی مدلهای مک بوک وجود داشت؛ اما احتمالاً در آیفون کاربردهای بیشتری برای آن درنظر گرفته میشود.
بر اساس گزارش زومیت، نمایشگر لمسی کناری میتواند برای اهداف مختلفی مانند نمایش دکمههای کنترلی، رابطهای کاربری، میزان شارژ باتری و وضعیت آب و هوا استفاده شود و حتی گزینههای کنترل اضافی را فراهم کند.
تصور کنید که با استفاده از نمایشگر کناری بتوانید حجم صدا را تنظیم یا آهنگها و موارد دیگر را انتخاب کنید؛ این روش، نیاز به فشردن دکمههای فیزیکی یا کار با صفحهنمایش اصلی گوشی را از بین میبرد. بنابراین اپل احتمالاً بهدنبال طراحی مینیمالیستی و ظریفتری است تا آن را در گوشی تاشدنی آیندهاش بهکار بگیرد.

نمایشگر کناری مورد نظر اپل فقط بهعنوان جایگزینی برای دکمههای فیزیکی معرفی نشده است، بلکه قابلیت شخصیسازی دارد و میتواند براساس هر کاری که درحال انجام است، تنظیم شود و دکمههای کنترلی مرتبط را نمایش دهد.
چنانچه اختراع جدید به گوشیها یا تبلتهای آیندهی کوپرتینوییها وارد شود، نگرانی تازهای برای کاربر ایجاد خواهد کرد؛ نگرانی از اینکه با سقوط دستگاه ممکن است نمایشگر کناری از کار بیفتد.

۵۸۵۸


